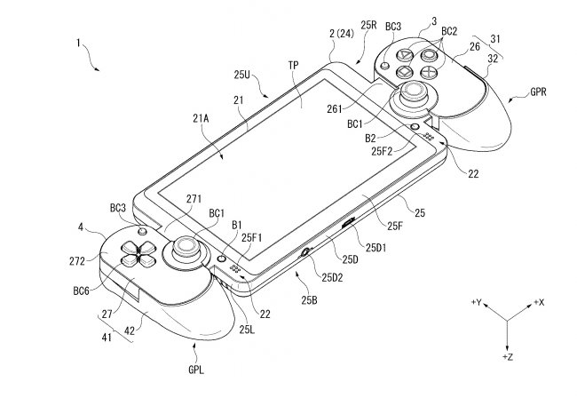
Nintendo Switch on aivan kohta kuluttajien kätösissä, ja se tuo kuvioon uuden konsolityypin: pöytä- ja käsikonsolin yhdistävän hybridin. Sony kuitenkin patentoi jo vuonna 2015 hieman samanlaisen idean.
Esuterun julkaisemissa luonnoksissa näkyy dualshockin kaltainen ohjain jaettuna yhden näytön molemmille puolille. Suunnittelu on ehtaa Sonya, eikä luonnos näytä yhtä hiotulta kuin Nintendon Switch.
Olisikohan tässä ollut Sonyn yritys jatkaa Playstation Vitan elinkaarta?

<bild></bild>